Устройство тифона. Тифон А58-001 установлен под полом кабины машиниста. Он служит для подачи звукового сигнала.
Тифон состоит из корпуса / (рис. 227), в который при помощи штуцера ввернут рупор 2. Фиксация рупора в корпусе осуществляется с помощью сухарика 4 и винта 3. В торце корпуса установлена крышка 6, между крышкой и корпусом зажата мембрана 5, уплотненная резиновым кольцом 8. Сжатый воздух поступает через ниппель 9 в нижнюю часть корпуса. Регулируют тифон, закручивая или откручивая крышку, при этом увеличивается или уменьшается громкость звукового сигнала. Для фиксации крышки в определенном положении служит барашковый винт 7.
Технические данные тифона А58-001
Присоединительный размер труб, мм........11,2
Масса, кг .... ...... 2275
Габаритные размеры, мм........... 390X160
Под кабиной машиниста вместе с тифоном установлен свисток малой громкости. Подача сжатого воздуха осуществляется с помощью клапана.
Клапан А16-000 (тифона и свистка). Он устанавливается в кабине машиниста и служит для привода в действие тифона и свистка. В корпус 5 (рис, 228) клапана ввернут тройник 14, внутри тройника расположены два клапана 8 и 13. Тройник закрыт пробкой 15. Левый клапан 8 состоит из пустотелого стержня 6, гнезда и резиновой прокладки 7. Гнездо правого клапана повернуто к стержню 10, имеющему резиновую прокладку 9, которая прижимается гайкой 12. Оба клапана к своим седлам прижимаются пружинами //. Между корпусом 5 и крышкой 3 зажата кожаная диафрагма 4. В центре диафрагма крепится винтом 2 к толкателю 1. Для уплотнения соединений корпуса с тройником и тройника с пробкой установлены резиновые прокладки. В тройнике имеется прилив с отверстием, куда подводится сжатый воздух. Через отверстие Б воздух поступает на свисток, а через отверстие В — на тифон.
Работа клапана заключается в следующем: при легком нажатии на педаль кронштейн нажимает на толкатель, который через головку винта нажимает на

Рис. 227. Тифон А58-001

Рис. 228. Клапан А16-000
стержень 10 и отжимает правый клапан от седла. Сжатый воздух из полости А через отверстие Б поступает к свистку. Левый клапан в это время закрыт.
При более сильном нажатии на толкатель он своей головкой нажимает на пустотелый стержень 6 и левый клапан вместе с правым открываются. Сжатый воздух поступает одновременно из полости А через отверстия Б я В к свистку и к тифону.
Технические данные клапана А16-000
Присоединительные
размеры, мм:
к источнику сжатого воздуха . 11,2 » свистку . 8,4 » тифонам 11,2
Масса клапана, кг 2,32
Габаритные размеры, мм 155X90,5X98

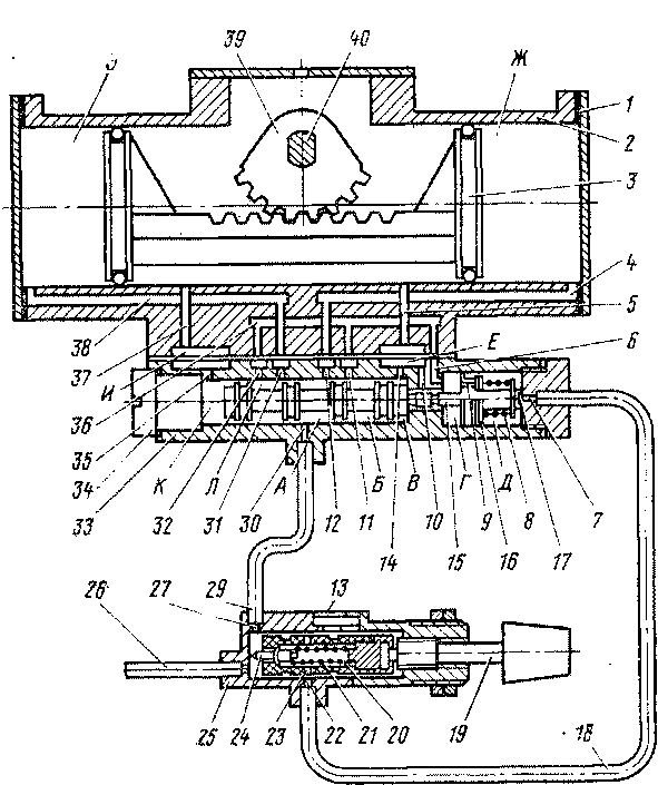
Рис. 229. Схема стеклоочистителя
Стеклоочиститель. Он служит для очистки стекол кабины машиниста от пыли и атмосферных осадков. Работа стеклоочистителя осуществляется с помощью поступающего сжатого воздуха, поступление которого регулируется запорно-регулиро-вочным механизмом.
Устройство и работа. Стеклоочиститель состоит из следующих основных частей: пневмо-цилиндра 20 (рис. 229), распределителя 11, рычага щетки и щетки. С корпусом 25 крана стеклоочиститель сообщен трубопроводами 29 и 18.
В выключенном положении золотник 28 запорно-регулиро-вочного крана левым торцом прижат вентилем 19 к торцу корпуса 25 и перекрывает доступ воздуха, идущего от сети трубопровода 26 к пневмодвига-телю стеклоочистителя.
Для включения стеклоочистителя вентиль 19 нужно вращать против часовой стрелки, при этом золотник 28 отходит от торца осевого канала корпуса 25, а клапан 24 под действием
пружины 21 садится в гнездо золотника, закрывая доступ воздуха к пневмо-двигателю по трубопроводу 29.
От сети сжатый воздух по трубопроводам 26, 29 через отверстия 27, 30 и полость Л поступает в полость А, ограниченную фланцами золотника 28 и корпусом распределителя 33. Из полости А сжатый воздух через отверстие 12 и канал 4 поступает в рабочую полость Ж корпуса пневмоцилиндра 2, перемещая рейку-поршень 3 справа налево.
Воздух, находящийся в полости 3, под действием рейки-поршня 3 выходит по каналу 38 через отверстие 31 в полость К, а затем через отверстие 32, канал 36, отверстие 6 попадает в полость Г. Из полости Г через отверстие 9 в клапане укладки 15, отжав шайбу 16, подпружиненную пружиной 8, воздух попадает в полость Д и через шлиц 17, отверстие 7, по трубопроводу 18, через отверстия 22, 23 и глушитель 13 выходит в атмосферу.
Перемещение рейки-поршня 3 справа налево происходит до тех пор, пока правое уплотнительное кольцо не перейдет через перепускное отверстие 5. В этот момент сжатый воздух из полости Ж через отверстие 5, полость Е и отверстия 14 и 10 попадает в полость В, перемещая золотник 28 справа налево до упора в пробку 34. После перемещения золотника 28 в крайнее левое положение сжатый воздух, поступающий по трубопроводу 29 в полость Л, проходит через отверстие 31, канал 38 и попадает в рабочую полость 3, перемещая рейку-поршень 3 слева направо.
Воздух, находящийся в полости Ж, под давлением рейки-поршня 3 выходит через канал 4, отверстие 12 и попадает в полость Б, а затем через канал 36 и отверстие 6 в полость Г. Из полости Г описанным выше путем сжатый воздух выходит в атмосферу.
Перемещение рейки-поршня 3 слева направо происходит до тех пор, пока левое уплотнительное кольцо не перейдет через пропускное отверстие 37. В этот момент сжатый воздух из полости 3 через отверстие 37, полость И и отверстие 35 попадает в полость К, перемещая золотник 28 слева направо до упора в торец корпуса распределителя 33. После перемещения золотника 28 в крайнее правое положение происходит повторение циклов.
Возвратно-поступательное движение рейки-поршня 3 при помощи зубчатого зацепления преобразуется в качательное движение сектора 39 и через ось 40, неподвижно закрепленную на секторе, передается рычагу-стеклоочистителя.
Выключение стеклоочистителя достигается путем вращения винта 19 по часовой стрелке до тех пор, пока золотник 28 своим торцом не будет прижат к торцу канала корпуса 25, после чего поступление воздуха прекратится.
Укладка щеток в заданное положение происходит в момент выключения стеклоочистителя, когда клапан 24 снимается с седла золотника 28, отжимая пружину 21, а золотник еще не подошел к торцу осевого канала корпуса 25, но правым уплотнительным кольцом уже перекрывает глушитель 13. В это время воздух к сети поступает по трубопроводу в полости А и Д через шлиц в клапане 24, отверстия 23, 31, по трубопроводу 18 и отверстие 7.
Так как поперечное сечение клапана укладки 15 больше поперечного сечения золотника 28, усилие, действующее на клапан укладки, превышает усилие, действующее на золотник. Поэтому клапан укладки 15 перемещает золотник 28 в крайнее левое положение, а сжатый воздух, попадая в полость 3 через отверстие 31 и канал 38, перемещает рейку-поршень 3 до упора в крышку /.
Регулирование скорости перемещения рейки-поршня 3 и соответственно связанных с ней щеток происходит из-за изменения сопротивления воздуху на выходе из глушителя 13. Это достигается путем изменения проходного сечения щелевидного отверстия глушителя 13 правым уплотнительным кольцом золотника при вращении винта 19. При увеличении или уменьшении проходного сечения щелевидного отверстия глушителя 13 соответственно увеличивается или уменьшается число двойных ходов рейки-поршня 3.
Глава XIII
АВТОМАТИЧЕСКАЯ ЛОКОМОТИВНАЯ СИГНАЛИЗАЦИЯ. АВТОСТОПЫ
⇐Электропневматические тормоза | Электропоезда ЭР2 и ЭР2Р | Назначение и принцип действия автоматической локомотивной сигнализации с автостопом⇒